نمو ضرس داخل أنف رجل أميركي
كشف أطباء في نيويورك أن رجلا يبلغ 38 عاماً زار عيادتهم في مستشفى "ماونت سيناي" بالولاية وهو يشكو من صعوبة التنفس لفترات مستمرة والاحتقان داخل الأنف، وتبين أن سبب المشكلة التي يعانيها هو نمو ضرس داخل أنفه.
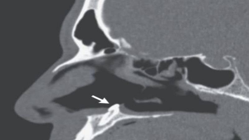
ووفق "روسيا اليوم" فقد وجد طبيب الأنف والأذن والحنجرة الذي فحص الرجل، حاجز منحني متشكل من كتلة بيضاء صلبة في فتحة الأنف وأكد التصوير المقطعي أن هذا الحاجز هو سبب صعوبة التنفس، وتبين أن الحاجز عبارة عن ضرس بطول 14 ملم وعرض 10 ملم.
وأجرى الأطباء عملية جراحية أزالوا فيها الضرس من تجويف الأنف، ونجحوا في حل مشكلة صعوبة التنفس التي كان يواجهها الرجل.
تابعوا آخر أخبارنا المحلية والرياضية وآخر المستجدات السياسية والإقتصادية عبر Google news